It’s no secret that games today are more popular than ever. Millions play games across consoles, PC, and other platforms each day, making it inevitable for some to face more challenges than others, whether they be in the form of puzzles, basic navigation, or something entirely different.
Players typically consult video playthroughs or written guides in these scenarios, but Sony’s recent patent presents a more creative solution to the problem. The gaming giant has filed a patent for an AI-Generated Ghost Player, offering the prospect of an intelligent assistant powered by AI.
Published earlier this year, the AI-Generated Ghost Player patent notes that games have become quite complex over time. This is why they often guide players with markers or companion characters. However, these solutions are limited in nature.
This is where Sony’s AI-Generated Ghost Player comes into play. The patent states that the AI model is trained on different footage collected from various sources. This allows the artificial intelligence to identify specific scenarios that present challenges to players in games, followed by a visual demonstration of how to deal with said scenarios.
Sony’s patent states that the AI ghost can be of both limited and extensive use. Whether it be a simple prompt with a sequence of buttons to press or an interactive conversation with the player’s character, the ghost AI is intended to offer different levels of assistance.
It can also take the shape of a fully rendered character or be limited to a shadow character. The ghost can even be portrayed through a user-generated avatar or a character from a different game, showcasing the variety Sony aims to offer.

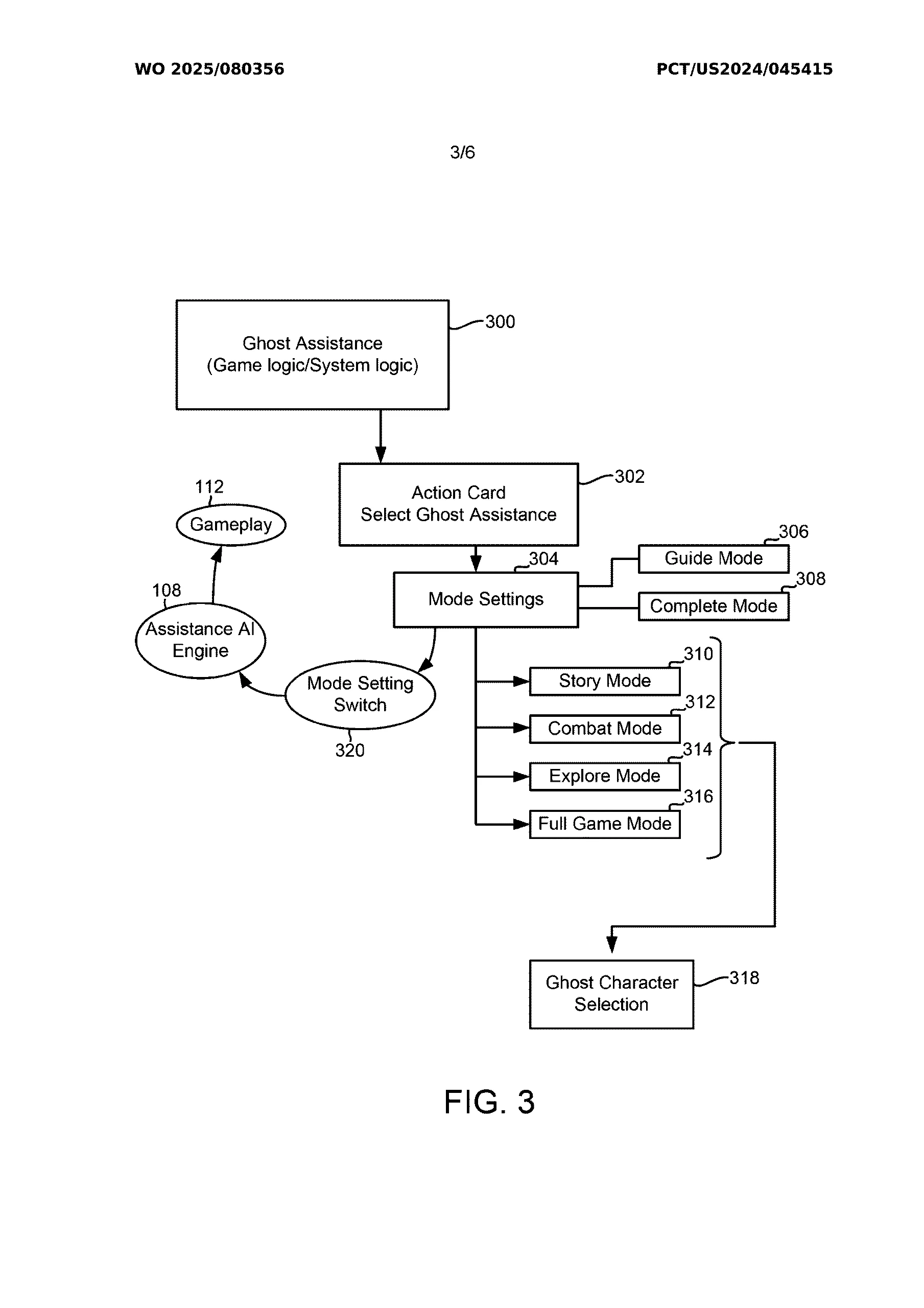
Figure 2 highlights how the AI ghost player can be triggered through a selection during a session. This leads to the session being linked to an AI engine, followed by the ghost character performing actions based on control inputs generated by the assistance engine.
Furthermore, Figure 3 below shows how ghosts can be configured to help players in different scenarios, including story, combat, exploration, etc. For instance, selecting story mode would ensure the ghost would deal with essential story pieces to help players complete the main story.
On the other hand, selecting combat mode would assist players with enemy encounters. This type of help could come in handy when playing games like Devil May Cry and learning new combos, or when playing games like Dark Souls and struggling with a tough boss encounter.

Needless to say, this type of system would be incredibly handy if implemented well. Because games are so popular among people of all ages, some may find certain parts more challenging than others. This is where Sony’s AI ghost player would come in, effectively offering curated assistance to users as the ideal solution.






