The DualSense’s “haptic feedback” has been one of the defining features of Sony’s latest controller. Sony’s innovations with the DualSense allow its controller to deliver more precise, deliberate haptics tuned for each game to fit specific scenarios.
The “haptic feedback” typically shines best in PS5 first-party titles and partner games where Sony and other developers work together to implement haptics on a per-game basis. However, this means that the feature often goes underutilized in most titles since it requires significant time and effort on the developers’ side.
Sony may be working on a solution to this problem, with a new patent teasing plans to automate haptics through a universal process. The patent, dubbed “Auto Haptics,” was published earlier this year, and it aims to use audio cues for haptic generation.

As discussed earlier, the patent points out that automatic haptic generation can reduce the burden on developers. At the same time, Sony admits that there is little to no reference for such a system since haptics are so game-specific.
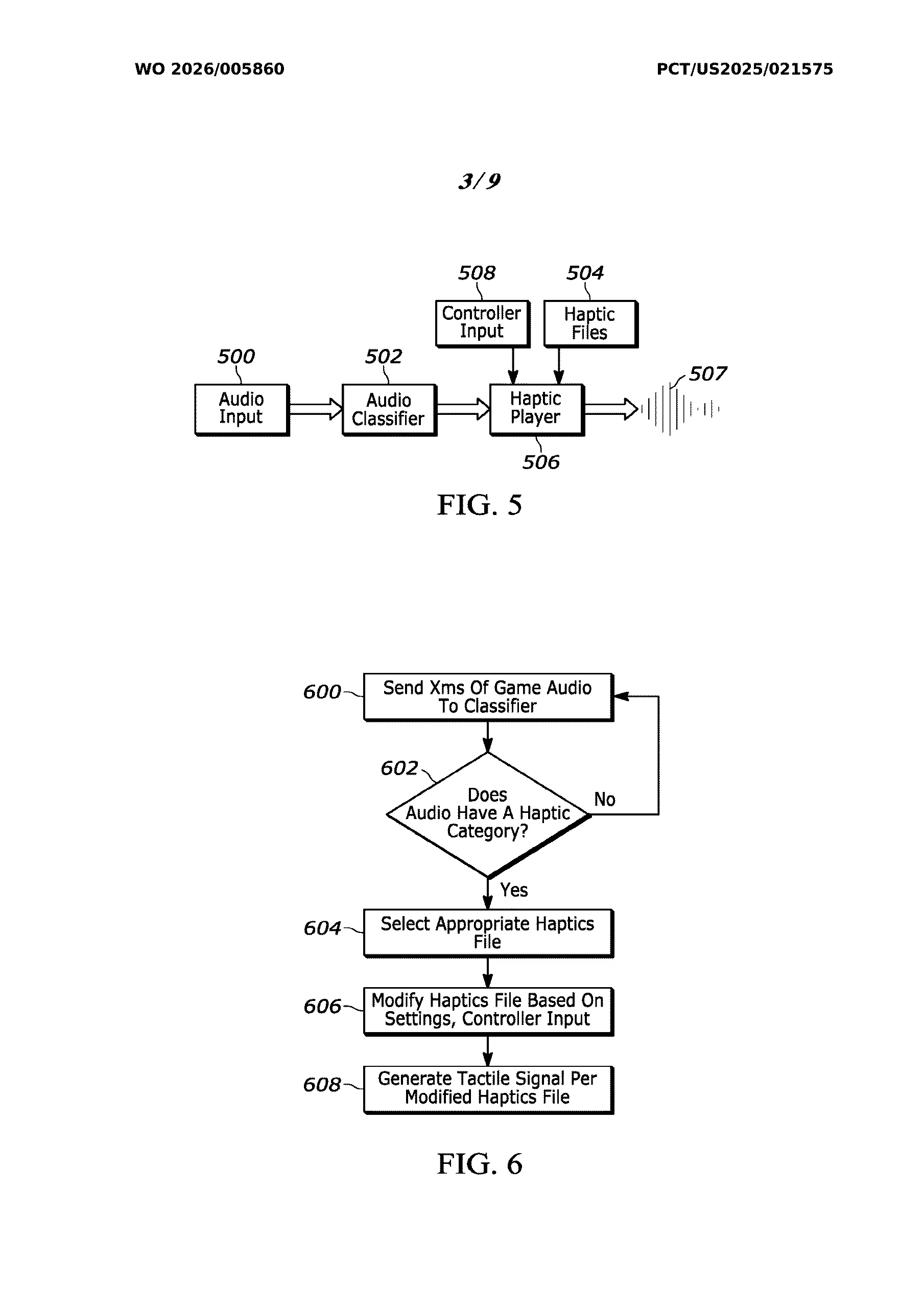
Sony, therefore, proposes the use of a machine learning model to determine whether haptics should be generated for a certain situation. The patent describes this as the first step in the process. To do this, Sony proposes feeding audio information into the machine learning model, which would then output information to generate haptics.
According to the patent, this model can be trained to distinguish among sounds such as gunshots, melee, footsteps, and vehicle-related noises by classifying them into different categories. Doing so can lead to the machine learning model being applicable to a wide variety of game genres.
The flowchart shown in Figure 6 highlights the process of haptic generation proposed by the patent. Audio cues received by the machine learning model go through haptic categories made from extensive training on different types of games and genres, and then an appropriate haptic response is chosen based on the audio file.
Moreover, the figure shows that the output can be impacted by the controller input at any given moment, further tuning the experience.

Figure 8 also shows how the same principles can be applied to PS4 games running on the PS5 for universal support. If implemented well, such a solution could ultimately lead to more immersive experiences on PlayStation and even other consoles.






